Introducing the IPQoS Configuration Example
Tasks in the remaining chapters of the guide use the example IPQoS
configuration that is introduced in this section. The example shows the differentiated services solution
on the public intranet of BigISP, a fictitious service provider. BigISP offers services
to large companies that reach BigISP through leased lines. Individuals who dial
in from modems can also buy services from BigISP.
IPQoS Topology
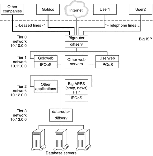
The following figure shows the network topology that is used for BigISP's public
intranet.
Figure 33-4 IPQoS Example Topology

BigISP has implemented these four tiers in its public intranet:
Tier 0 – Network 10.10.0.0 includes a large Diffserv router that is called Bigrouter, which has both external and internal interfaces. Several companies, including a large organization that is called Goldco, have rented leased-line services that terminate at Bigrouter. Tier 0 also handles individual customers who call over telephone lines or ISDN.
Tier 1 – Network 10.11.0.0 provides web services. The Goldweb server hosts the web site which was purchased by Goldco as part of the premium service that Goldco has purchased from BigISP. The server Userweb hosts small web sites that were purchased by individual customers. Both Goldweb and Userweb are IPQoS enabled.
Tier 2 – Network 10.12.0.0 provides applications for all customers to use. BigAPPS, one of the application servers, is IPQoS-enabled. BigAPPS provides SMTP, News, and FTP services.
Tier 3 – Network 10.13.0.0 houses large database servers. Access to Tier 3 is controlled by datarouter, a Diffserv router.